An official website of the United States government
Here's how you know
Official websites use .mil
A
.mil
website belongs to an official U.S. Department of Defense organization in the United States.
Secure .mil websites use HTTPS
A
lock (
lock
)
or
https://
means you’ve safely connected to the .mil website. Share sensitive information only on official, secure websites.
Skip to main content (Press Enter).
Toggle navigation
Naval Sea Systems Command
The Force Behind The Fleet
Naval Sea Systems Command
Search the NAVSEA site:
Search
Search
Search the NAVSEA site:
Search
Home
AEGIS TECHREP
NNPTC
About
Command Philosophy
Transport
History
Academics
A School
Nuclear Power School
License and Insurance
Careers
Electricians Mate
Electronic Technician
Machinist Mate
Naval Reactors Engineer
Nuclear Power School Instructor
Nuclear Training Unit Instructor
Nuclear Surface Warfare Officer
Submarine Officer
Welcome Aboard
Housing & Amenities
Ombudsman
Embedded Mental Health
Medical Readiness Group
Military and Family Life Counselors
Religious Ministries
Sailor Development Group
Social Media
NOSSA
NOSSA Employment
Contact NOSSA
NPTU
Charleston
New York
SCSC
Leadership
About Us
Contact Us
Directions and Visitor Information
SUBMEPP
Products
CSAR
JFMM
Contact Us
Job Openings
SUPSALV
NEDU
Links
Command Leadership
Departments
Medical
BioMedical Research
T&E
Engineering
Archives
00C2 Salvage
ESSM
Salvage and Towing
POSSE
Ocean Search Assets
Remotely Operated Vehicles
Salvage Publications
Environmental
Preparedness
Response
Response Tools
Equipment
Navy On-Scene Coordinator
NOSC Points of Contact
00C1 Business Mgmt
00C3 Diving
Diving ANU
Diving Publications
Faceplate Magazine
SEA 00C3 Points of Contact
Diving R&D BAA Submissions
00C4 Certification
00C5 UWSH
00C5 POCs
UWSH Capabilities
UWSH Cofferdams
ESSM
ESSM Operations
Management
Location
Requesting Procedures/Funding
Diving Equipment
Salvage Equipment
UWSH Equipment
Pollution Equipment
ED Divers
Contact Us
SUPSALV News Archive
SUPSHIP
Bath
Groton
Gulf Coast
Newport News
SUPSHIP Operations Manual
Shipyards
NSS-SY
SIOP
Norfolk
NNSY Leadership
Shipyard Commander NNSY
Deputy Commander
Command Master Chief
SES
NNSY Satellite Locations
Fleet Maintenance Support Branch
Introduction
Mission / Vision / Values
Other Training and Engineering Products
Course Description
Points of Contact/Subject Matter Experts
Directions to FMSB
Careers
Apprentice Program
Job Announcements for Outside Applicant
Job Announcements for NNSY Employees
Programs
Engineering
Questions
FAQ
NNSYJOBS
Military
Contact Us
History
NNSY Inspector General
Morale, Welfare, Recreation (MWR)
NNSY Forms
NNSY Parking
NNSY Parking Information
NNSY Motorcycle Parking
NNSY Parking Enforcement
NNSY Transportation
NNSY Parking FAQs
Leaving Government Website – Magellan Ascend
Leaving Government Website – X
Leaving Government Website – Instagram
Leaving Government Website – Linkedin
Leaving Government Website – YouTube
Leaving Government Website - TCC Testing
Portsmouth
About Us
History
19th Century History
20th Century History
21st Century History
FAQs
Leadership
Careers
Skilled Trades
Engineering
STEM Outreach
Support
Connect
PHNSY & IMF
Mission and Vision
Message from the Commander
Leadership
Careers
PHNSY STEM
FAQs
Resources
Contact Us
PSNS-IMF
Command Locations
Leadership
History
Careers
Career-Fields
Skilled-Trades
Engineering-Planning
Information-Technology
Administrative-Resource-Management
Acquisition-Contracts
Project-Management
Science-Technology
Quality-Assurance
Environmental-Occupational-Safety-Health-Sciences
Business-Strategic-Planning-Financial-Operations
News
Connect
Newcomer info
STEM
Shutdown Support
PEO Aircraft Carriers
PEO IWS
About PEO IWS
PEO IWS Industry Engagement
Team Ships
PEO Ships
AGOR
DDG 51
DDG 1000
DDG(X)
Expeditionary Fast Transport (EPF)
Exp Transfer Dock (ESD) /Expeditionary Sea Base (ESB)
LAW
LCAC SLEP
LCU
LHA
LPD 17
Ship to Shore Connector (SSC)
T-AO
NAVSEA 21
Inactive Ships
Small Combatant and Expeditionary Modernization and Sustainment (PMS 321)
International Fleet Support
Surface Ship Modernization
Surface Training Systems
Bridge Integration and Targeted HME Systems
SURFMEPP
Large Surface Combatant Modernization & Sustainment (PMS 421)
Destroyer Modernization 2.0 (PMS 451)
Shipbuilding 101
Sailing Directions
News
FAQ
Leadership
Team Submarines
TRFB
Leadership
Who We Are
Administrative Support Department
Lifting and Handling Department
Repair Department
Engineering and Planning Department
Manpower and Training Department
Quality Assurance Department
Weapons Repair Department
Comptroller Department
Business and Maintenance Management Department
Careers
Occupations
Contact Us
TRFB EEO
Equal Employment Opportunity
Regulations, Guidance and Policy
Affirmative Employment Program
Blank
Complaints Process
Alternative Dispute Resolution
Reasonable Accommodations
No FEAR Act
Management Directive (MD) 715 Report
TRFB IG Hotline & Info
PEO Unmanned and Small Combatants
Warfare Centers
NSWC Carderock
Who We Are
Our Heritage
Division Sites
Technical Departments
Support Departments
Rear Adm. David W. Taylor
Commanding Officer
Technical Director
Platform Integrity Department
Signatures
Naval Architecture and Engineering
Bayview, Idaho
Fort Lauderdale, Florida
Ketchikan, Alaska
Memphis, Tennessee
Norfolk, Virginia
Titusville, Florida
Silverdale, Washington
West Bethesda, Maryland
Site Information
What We Do
Laboratories and Research Facilities
List of Laboratories and Research Facilities
Core Competencies
Signature and Silencing Systems
Vulnerability and Survivability Systems
Structures and Materials
Naval Architecture, Including Hull Forms and Propulsors
Ship Integration and Design
Environmental Quality Systems
Business
Broad Agency Announcements
Contracting & Small Business
Activity Performance
Industry Day Highlights
Long Range Acquisition Forecast
Technology Transfer Office
Work for Private Parties
Vehicles for Partnering
STEM & Outreach
Educational Partnership Agreements
Internship and University Engagement Opportunities
STEM Programs
FIRST LEGO League Robotics Program
Carderock Math Contest
Math Clubs
Seaplane Challenge
Calculator-Controlled Robot Program
Underwater Sea Glider
Sea Perch
International Submarine Races
SeaJelly
NC Seaplane
Seaworthy STEM In-a-Box
Resources
Curator of Navy Ship Models
Specifications for Building Exhibition Ship Models
Lead Corrosion in Exhibition Ship Models
Questions and Answers
From Frigate to Sloop
U.S. Navy Ship Models built by Gibbs & Cox Company
News
Technical Information Systems
Policy/Guidance
Frequently Asked Questions
IETMs
Specifications & Standards
CALS Standards
Technical Reports
IETMs Technology Working Group
Spec&Stans
CALSStans
TechReps
Navy XML/SGML Repository
DTDs & Schemas
MIL-DTL-24784C IM/IP DTD Suite
IWS6 Common Schema
NAVSEA Class 2 ETM DTD
Changes from the ETM Class 2 Revision E
History
Early Revisions
Early Revisions
Rev E Changes
Rev D Changes
Rev C 1.2 Changes
Rev C 1.1 Changes
Rev C Changes
Rev B Changes
Rev A Changes
ArborText Adept Series FOSI
NAVSEA S1000D Tools Repository
NAVSEA IETM Viewer
AEGIS Technical Manual Publishing DTD
MIL-STD-38784
MIL-DTL-81310
MIL-STD-3001
SLQ-32 MIL-DTL-24784 IETM DTD Set
ISO 10303 Ship Product Model Data Schema Suite
ISO 10303 Ship Product Model Data Schema Suite - D
NSWC Multipurpose Schema
Navy Electronic Technical Manual XML DTD
Navy ETM XML DTD - What's New
EOSS
Data Dictionary - EOSS Document Type Definition (D
AMSEC LLC MPP
NAVSEA OD IEP
PMS
Tagging Conventions
Data Dictionary
SNIPP-Approved DTDs & Schema Suites
S1000D Info Center
Getting Started with S1000D - Introduction
Basics of S1000D
Basics of S1000D
S1000D Management Group Sea Working Group
Charter: Sea Working Group
NAVSEA S1000D Acquisition Process
US SWG S1000D CPFs
S1000D Related Links
S-Series Specifications
Career Opportunities
Equal Employment Opportunity
New Hire Bridge Employee Resource Group
Vanpool Information
New Hire Information
Pay
Leave
Work Schedules
Health Care and Insurance
Retirement
Academics
DAWIA
Training
Mentoring
Experienced Professional Opportunities
Non-Science and Engineering Internship Opportunities
Science and Engineering Internships
SMART Scholarship
NREIP Program
SEAP Program
Naval Acquisition Development Program
Workforce Recruiting Program
Individuals with Disabilities
Veterans
Apply Here
USAJobs
Contact Info
FOIA
NSWC Corona
Who We Are
Command History
What We Do
Acquisition and Readiness Assessment Department
Range Systems Engineering Department
Performance Assessment Department
Measurement Science Department
Comptroller Department
Contracts Department
Corporate Operations Department
Resources
Community Involvement
Open House 2023
Economic Contributions to the Community
Academic Partnerships
Careers
Compensation and Benefits
Pay
Leave
Flexible Work Schedule
Retirement
Healthcare and Insurance
Wellness and Work-Life Balance
Workforce Development
Academics
DAWIA
Mentoring
Training
How Do I Apply
Science and Engineering Positions
All Other Positions
EEO
Complaints Process
Partnerships
Contact Us
Directions
Airports
NSWC Crane
Who We Are
Leadership
Organization Structure
Economic Impact
About
Contact Us
Freedom of Information Act
Visitor Information
FAQs
Careers
Recruiting
Faculty
Contracts
Industry Feedback & Communications
Visitor Information
Media
NSWC Dahlgren
Who We Are
Dam Neck
What We Do
Partnerships
Resources
Career Opportunities
NSWCDD Range Schedule
Visitor Information
Contact Us
NSWC Indian Head
Who We Are
What We Do
Technical Capabilities
Technical Departments
EOD Dept
EOD Information Mgmt
EOD Systems Division
International Programs Office
Battle Lab Division
Demonstration and Assessment Team
Systems Engineering
Energetic Systems
CAD/PAD
Energetics Technology
System Safety
Navy Weapons
Systems Integration
PHS&T
Certified Weight Test Facilities
Energetics Mfg
RDT&E
Advanced Diagnostics Data Analysis Tools and Software
EMTC
Energetics Focus
Process Tech and Env Awareness
Technology Transfer
Projects
Expeditionary Exploitation Unit One
Partnerships
Business Partnerships
CRADAs
WFPP
Vehicles for Partnering
Contracts
Small Business
Small Business Firm Introduction Request
Technology Transfer
FAQs
Patents
Academic Partnerships & Alliances
CAD-PAD Industry Summit
TEW
TEW Presentations
2022_TEW Presentations
2022 TEW Presentations
ILM
ILM Resource Library
Resources
STEM Outreach
Career Opportunities
Contact Us
Visitor Information
FOIA
Range Schedule
Expeditionary Exploitation Unit One
NSWC Panama City
Who We Are
Employment
EEO
Equal Employment Opportunity
AEP
Complaints Process
ADR
Reasonable Accommodations
No FEAR Act
Management Directive MD 715 Report
Leadership
Contact Us prev
What We Do
Partnerships
Navy Science Squad
Resources
STEM Outreach
ED and I
Equal Employment Opportunity
Regulations
AEP
SEP
Complaints Process
Alternative Dispute Resolution
Reasonable Accommodations
No FEAR Act
MD 715 Report
Contact Us At
Career Opportunities
Careers
NSWC Philadelphia
Who We Are
Our Hertiage
Leadership
What We Do
Partnerships
Contracting Opportunities
Work With Private Parties
Vehicles for Partnering
STEM Programs
Career Days
Summer Camps
FIRST Robotics
Naval Robotics
Internships & Scholarships
Science Fairs & Festivals
Other Transaction Agreements (OTA)
Industry Day
Industry Days
Career Opportunities
EEO
Complaints Process
Contact Us
Employment Verification
NSWC Port Hueneme
Who We Are
Leadership
History
White Sands Detachment
Virginia Beach Detachment
What We Do
Aegis Combat System
Distance Support
CAESAR
48E Remote BIT
Distance Support In-Depth
Sailor to Engineer
Integrated Product Support
In Service Engineering
Launchers
Missile Systems
Radars
Test & Evaluation
UNREP
Desert Ship
Test Ship
SWEF
Partnerships
Business Opportunities
Contracts
Small Business
Resources
Career Opportunities
Recruiting
General Benefits
Training
Internship and Scholarship Opportunities
EEO
Equal Employment Opportunity
Veteran
Entry-Level Development Opportunities
USA-JOBS
Contact Us
NUWC Keyport
Contact Us
Careers
Environmental
EIS Range
Surface Ship Radiated Noise Measurement
Resources
Equal Employment Opportunity
Patents
Small Business
Who We Are
What We Do
Obsolescence Management
NSLC
Leadership
Mission
Organization
Products & Services
Logistics Program Office Support
Logistics Planning, Processes & Policy
Supply Support Outfitting
Configuration Mgmt & Modernization
Maintenance Planning
Engineering Technical Support
Supplier Quality Performance
CORE IT Infrastructure
IT RDTE Projects
Shipyard IT Maintenance
Recruitment & Employment
Apply Now
New Employee
Contact Us
Contact Information
Visit Information
Government Shutdown Information and Resources
NUWC Newport
Who We Are
History
Work Status
Employment Impact
Leadership
What We Do
ANTX 2019
ANTX 2018
ANTX 2018 in the News
Codes and Departments
Ranges, Engineering and Analysis Department
Survivability
ISE
FORACS
Undersea Ranges
Ocean Sciences
Structural Mechanics
Marine Mammals
RandME
System Safety
Waterside Security
Mission Environmental Planning Program
Detachments
AUTEC
Official Visits
Privacy Statement
Clearance Classified Visits
Reservations
Equipment Authorization
Equipment Approval
Information
Weather Select
2015 Weather
Weather 2014
Weather data 2015
2016 Weather
XBT-SVP
XBT-SVP 2015
XBT-SVP 2014
XBTSVP2016
XBTSVP2017
XBT-SVP 2013
XBT-SVP 2012
XBT-SVP 2017
XBT-SVP 2018
XBT-SVP 2019
XBT-SVP 2020
XBT-SVP 2021
2022
XBT-SVP
XBT-SVP-2023
XBT-SVP 2024
XBT-SVP 2025
XBT-SBT 2026
Contact us
COVID Procedures
Dodge Pond
Seneca Lake
Narragansett Bay Test Facility
Brochure
Shipboard Electronics Systems Evaluation Facility
ANTX 2020
ANTX Overview
Partnerships
Educational Outreach
Community Involvement
Programs
Tech Bridge
Contracting and Small Business
Industry Day
SeaPort-e Council
Competition Advocate
Long Range Acquisition Estimate
Outreach Events
Activity Performance
Technology Partnerships Office
Career Opportunities
Recruitment/Civilian Opportunities
High School Internships
College Internships
Contact Us
Visitor Information
Mandatory Visit Request
Maps/Directions
Telephone Listings
Military Detachment
About
Leadership
Organization
Directorates
SEA 04 - Industrial Operations
SEA 05 - Naval Sea Systems Engineering
SEA 06 - Sustainment
SEA21 - Surface Ship Maintenance, Modernization & Sustainment
Field Activities
AEGIS-TECHREP
NNPTC
NOSSA
NPTU
Charleston
New York
Regional Maintenance Centers
CNRMC
FDRMC
MARMC
SERMC
SWRMC
SRF-JRMC
SCSC
SUBMEPP
SUPSALV
NEDU
SUPSHIP
SUPSHIP Bath
SUPSHIP Groton
SUPSHIP Gulf Coast
SUPSHIP Newport News
Shipyards
Naval Sustainment System - Shipyards
Shipyard Infrastructure Optimization Program
Norfolk
Portsmouth
PHNSY & IMF
PSNS & IMF
Trident Refit Facility Bangor
Warfare Centers
NSWC Carderock
NSWC Corona
NSWC Crane
NSWC Dahlgren
NSWC Dahlgren Division Dam Neck Activity
NSWC Indian Head
Expeditionary Exploitation Unit One
NSWC Panama City
NSWC Philadelphia
NSWC Port Hueneme
NUWC Keyport
NUWC Newport
Program Executive Offices
PEO Aircraft Carriers
PEO Integrated Warfare Systems (IWS)
Team Ships
Team Submarines
PEO Unmanned and Small Combatants (USC)
Strategy
Media
News
Biographies
Images
Video
Resources
Fact Files
Instructions
NAVSEA QPL
STEM
Seaworthy STEM Curriculum
TANG
Careers
Employee Benefits
Where We Are
Mid-Atlantic Region
Midwest Region
North East Region
Pacific Northwest Region
South East Region
West Region
Overseas Region
Who We Hire
Students
Apprenticeships
Veterans
Career Fields
Acquisitions and Contracts Jobs
Administration and Professional Support Jobs
Business and Finance Jobs
Engineering Jobs
IT and Cybersecurity Jobs
Science and Mathematics Jobs
Skilled Trades Jobs
Overseas Careers
FAQs
Recruitment Events
Search Job Opportunities
Join Our Talent Network
Small Business Partnerships
LRAE
SBIR-STTR
SeaPort NxG
Contact
EEO
Employment Verification
FOIA
Reading Room
Asbestos
Contracts
Inspector General
IG Hotline
Visit Information
CAC-Issuance
History
Home
:
Home
:
Shipyards
:
SIOP-old
:
SIOP Image Gallery
Image Gallery
Search
Search
All Images
All Images
AEGIS TECHREP
Bath
CNRMC
FDRMC
Groton
Gulf Coast
HQ
MARMC
NAVSEA 21
NAVSSES
NEDU
Newport News
NNPTC
NNSY
NOSSA
NSLC
NSWC Carderock
NSWC Corona
NSWC Crane
NSWC Dahlgren
NSWC Indian Head
NSWC Panama City
NSWC Philadelphia
NSWC Port Hueneme
NSWC/NUWC
NUWC Keyport
NUWC Newport
Other
PEO Ships
PHSY IMF & RMC
PNSY
PSNS & IMF
RMC
SBIR
SCSC
SERMC
Shipyards
SRF-JRMC
SUBMEPP
SUPSALV
SUPSHIP
SWRMC
Team Ships
TRFB
Upload Date
Upload Date
Photo Date
Title
Share
Safeguarding Innovation: The Strategic Role of Patents at Carderock
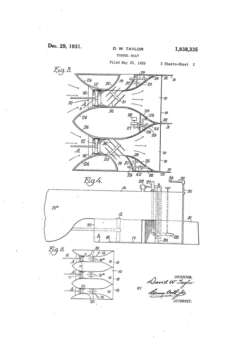
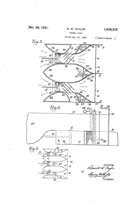
1. Taylor Patent – Tunnel Boat (1931) Fig. 3–8 from David W. Taylor’s 1931 patent for a tunnel-boat design (U.S. Patent No. 1,838,335). Taylor, Carderock’s founding naval architect, earned 13 patents from the late 1890s to the 1930s for innovations that helped shape modern ship design. (Image courtesy of Google Patents.)
Download Image:
Small
|
Medium
|
Full Size (0.63 MB)
Tags:
Patents
,
research
,
innovation
,
carderock
Photo by:
Courtesy Asset |
VIRIN:
311229-N-N1804-3145.JPG
Photo Gallery